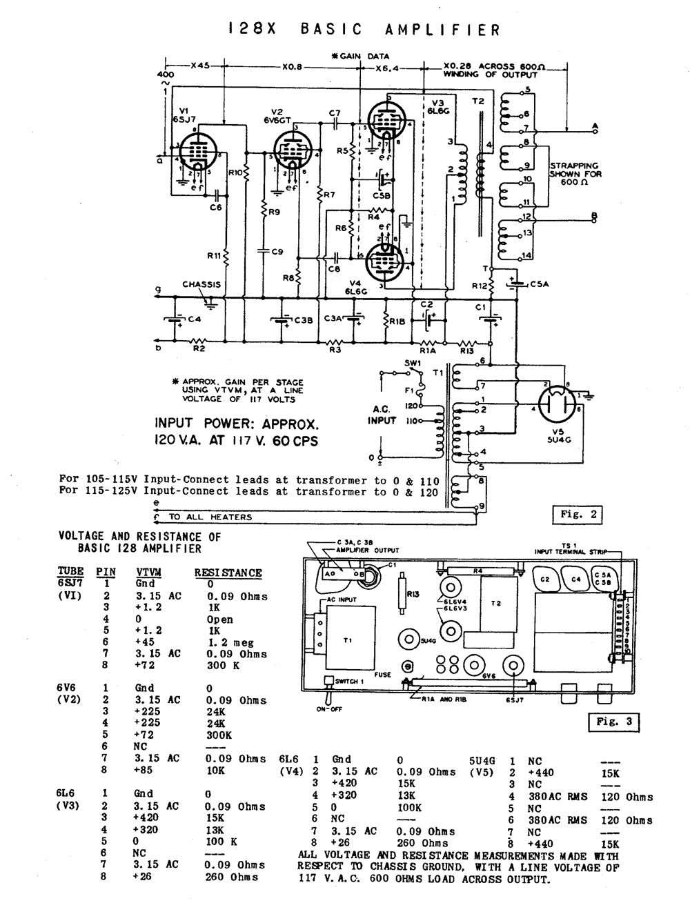
ランジバン Lngevin 128-X プロ用真空管 モノラルアンプ 整備済 詳細はお問い合わせください sold
製品はWestern Electricからライセンスを受けてLangevinが生産していた
レコーディング・スタジオ、放送局等業務用システムに生産していたもの
WE 124アンプと回路、トランス構成等酷似したもので、 WE 124の弟分ともいえるLangevan製アンプ、
この128-Xは入力回路が何種類かあり、その仕様もWE 124とほぼ同様
使用真空管は6V6G、6SJ7、5U4、6L6G使用 1946年製













